| Vaša cena | 96,20 € |
| Vaša cena bez DPH | 78,21 € |
| Dostupnosť | Skladom 4 ks |
| Odosielame v pondelok | |
Domáci Wi-Fi router MikroTik hAP ax 2 v prevedení dual-band je malé zariadenie s excelentným pomerom cena/výkon, ktoré je možné namontovať vertikálne aj horizontálne bez akýchkoľvek kompromisov na silu a stabilitu signálu. Podporuje najmodernejší štandard 802.11ax Wave2 , ktorý prináša lepší multitasking, 2násobne vyššiu priepustnosť kanálu a rozšírenú podporu pre 5GHz pripojenie. Bezdrôtový signál je tak silnejší ako inokedy – až o 40 % vyššia rýchlosť v 5 GHz a až o 90 % vyššia rýchlosť v spektre 2,4 GHz !
Tento smerovač umožní komunikovať prenosovou rýchlosťou 574 MB/s (2,4GHz) a až 1200 MB/s (5GHz) , vďaka čomu je ideálny pre pokrytie bežných dátových potrieb aj pre náročné aplikácie , ako je streamovanie videí vo vyššej kvalite a hranie cloudových hier . Užívateľ totiž môže 1 pásmo venovať náročnejšej prevádzke, zatiaľ čo druhé bude poskytovať stabilné Wi-Fi pre zvyšok domácnosti.
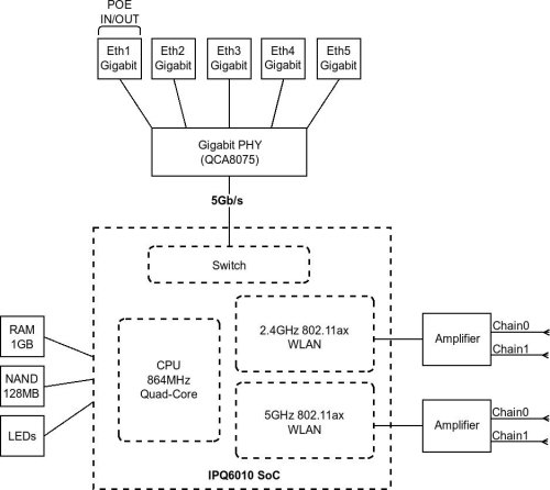
Wi-Fi router MikroTik hAP ax 2 má celkom 5 GbE RJ-45 konektorov , pričom 1 z nich ponúka podporu Power over Ethernet podľa špecifikácie 802.3af pre napájanie aj prenos dát pomocou jediného UTP kábla. PoE vám teda ušetrí námahu a náklady na pripájanie dodatočných napájacích káblov aj starosti s nedostatkom elektrických zásuviek. Tento smerovač tak predstavuje ideálny prístroj na veľmi pružné rozšírenie vašej domácej siete bez ohľadu na daný priestor či podmienky.

Wi-Fi router poháňa operačný systém RouterOS s licenciou L4 a 4jadrový procesor Qualcomm IPQ-6010 s taktom až 864 MHz, ktorému sekunduje 1GB pamäť RAM . Zásluhou výkonného hardvéru a funkcie IPsec tak generuje minimálnu latenciu v sieti aj pri vysokom prenosovom zaťažení. Na každé kliknutie na odkazy, pri prehrávaní videí či počas experimentovania s najpokročilejšími funkciami RouterOS tak reaguje oveľa rýchlejšie. Smerovač je potom možné nastaviť cez webové rozhranie , mobilnú aplikáciu či cez program WinBox a ponúka funkciu Quick Set pre rýchle nastavenie pomocou niekoľkých prednastavených profilov.
Technológia MU-MIMO a 2-pásmové a 2-reťazcové rádio so ziskom 4 až 4,5 dBi potom zaistia spoľahlivé pokrytie aj minimalizáciu všetkých nežiaducich vplyvov, ktoré by mohol pokaziť či dokonca zhatiť vašu prácu a zábavu. Kvadratúrna amplitúdová modulácia (QAM) s konšteláciou 1024 potom zvýši úroveň spektrálnej účinnosti, čo zaistí vysoko stabilné pripojenie pre viac zariadení IoT. Nechýba tu tiež podpora QoS , ktorá umožňuje uprednostniť určitú sieťovú prevádzku oproti inej podľa špecifikácie IEEE 802.1p , čo je užitočné pre zachovanie spoľahlivosti kritických služieb v prípade zahltenia siete.

Šifrovanie bezdrôtovej prevádzky pomocou moderného protokolu WPA3 spoľahlivo zabezpečí vaše informácie pred hackermi . Toto šifrovanie prináša nové funkcie, ktoré užívateľovi zjednodušia zabezpečenie Wi-Fi siete a zároveň umožňujú robustnejšie overovanie a poskytujú zvýšenú kryptografickú silu pre vysoko citlivé údaje, ako je vaše bankovníctvo či herné účty , do ktorých ste venovali svoj čas aj peniaze.
